One-piece Box for Small Books
Purpose
The box protects small books, both thin and thick, from light, dust and against damage by shock, especially at the corners. The corner flaps prevent fragments from falling out of the box. This box is easy to make; novices can make it without difficulty in about fifteen minutes.
Author(s)
Richard W. Horton*
Northeast Document
Conservation Center
100 Brickstone Square
Andover, MA 01810 USA
Tel (508) 470-1010
Fax (508) 475-6021
* New address:
Bridgeport National Bindery, Inc.
Box 289
104 Ramah Circle South
Agawam, MA 01001 USA
Tel (413) 789-1981
Fax (413) 789-4007
Illustrations: Margaret Brown
after Richard W. Horton
Publication: 1992
Description
The box is made from one piece of card stock, has corner flaps and does not require taping (Fig. 1). It adds only four thicknesses of card stock to the lateral shelf space taken by the book.

Figure 1. One-piece card stock box with book inside.
Materials Tools Supplies
- Low lignin card stock, 20pt, calendared
- Bone folder
- Book measuring device
- L-shaped ruler or T-square
- Mat knife
- Scissors
- Self-healing cutting mat or a piece of cardboard
Construction
- Construct a ruler-template by placing the book on a strip of paper or card and making measurement marks as shown in figure 2, or use a book measuring device.

Figure 2. Measuring the book and marking dimensions on a paper strip.
- Using the ruler-template, make the appropriate marks on adjoining edges of one of the corners of a large piece of 20pt lignin-free and alkaline reserve card stock (Fig. 4).
- Cut the measured box area from the card.
- Using an L-shaped ruler or a T-square, and a bone folder, make creases across the card at all marks.
- Using the point of the bone folder on the surface of the card stock, score the card along the edge of the ruler as if you were drawing a line with a pencil. Press the point of the bone folder into the card and pull it along the edge of the ruler, creating a linear indentation.
The ruler should be held down firmly to prevent slippage. Without releasing the ruler, reinforce the crease by inserting the bone folder beneath the card rubbing it firmly against the ruler (Fig. 3).
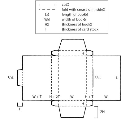
Figure 3. Creasing the card stock with a bone folder. - Make all peripheral cuts with scissors (Fig. 4).

Figure 4. Diagram indicating cuts and crease lines on card stock.Notice that the corner flaps are angled slightly, as are the end flaps. Make slit for tab with mat cutter (Fig. 5).


Figure 5. Enclosing book in one-piece box. - Fold the box and put the book inside it.
Adapted From
Horton, R. 1991. Card stock enclosures for small books. Technical Leaflet: Bound Materials. Northeast Document Conservation Center, Andover, MA.