Plastic Containers for Specimens in Aqueous Solutions
Purpose
This method of constructing containers from transparent plastic is designed to produce inexpensive display units from readily available materials and to make sizes that are not commercially available. If ultra-violet filtering acrylic is used, it can protect specimens from damaging UV rays. Removable glass or moulded acrylic tops provide tightly fitting removable lids, minimizing evaporation of fluids from the container. Permanent acrylic covers prevent evaporation of fluids from the container.
Author(s)
G. Wayne Lyons
Department of Anatomy
Queens University
Botterell Hall, Room 949
Kingston, Ontario
Canada K7L 3N6
Tel (613) 545-2600
Fax (613) 545-2566
Photographs:
Henricus Verstappen
Illustrations: Jan Spersrud
Publication: 1992
Description
The containers are constructed of polymethylmethacrylate sheets that have been cut, bent and glued to form a rectangular box and lid (Fig. 1). This system of construction uses a homemade bending jig with a heating bar to fabricate plastic containers of various sizes. The use of these containers is limited to aqueous storage solutions and specimens that are not larger than 60cm x 48cm x 48cm. However, increasing the heating bar length and jig size can extend the size constraint to some degree. Organic solvents or solvent containing solutions (e.g., 2% ethanol) cause the plastic to etch and crack after prolonged exposure and should not be used with this system.

Figure 1. Plastic jar with external-fitting lid.
Alternative internal-fitting lid is pictured at left.
Materials Tools Supplies
- 110-115volt AC power source
- Adjustable retort stand with adjustable platform constructed of 12mm plywood for holding plastic during bending
- Bending jig constructed of 12mm thick plywood
- Buffing wheel
- C-clamps, 10in
- Chloroform (Hazardous material threshold limit value:10ppm – see precautions under comments.) or methylene chloride
(see precautions under comments.) - Cover slip for glass slides
- Electric drill
- Furniture clamps (various lengths)
- Heat resistant pads
- Jewelers rouge
- Lead weights
- Masking tape
- Sand paper, 100-600 grit
- Solid core heater bar (variable lengths) manufactured from low-resistance steel alloy
- Syringe (50-100 ml) and large bore needle (13-15 gauge)
- T-bar holding device with adjustable arm for securing plastic during cooling
- Table or radial arm saw
- Transparent polymethylmethacrylate plastic sheeting, various thicknesses from 3-12mm (determined by jar volume)
Construction
Equipment
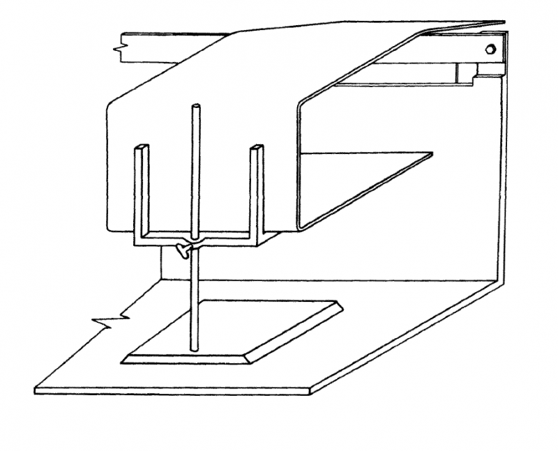
- Fabricate wooden bending jig from 12mm thick plywood according to diagram in figure 2.

Figure 2. top, Anterior view of bending jig with heater bar attached.
bottom, Posterior view of bending jig showing power source attachment. - Attach solid core heater bar to power supply.
- Fabricate T-bar holding device from 12mm plywood and 10cm C-clamps (Fig. 3).

Figure 3. T-bar holding device for securing plastic after bending.
Container
- Using pencil and ruler, lay out sides of container on surface of plastic sheeting covered with protective paper coating, according to the pattern in figure 4.

Figure 4. Container layout on 3mm polymethy l – methacrylate sheeting.
- Repeat above procedure for top and bottom of container, allowing approximately an extra 2mm in length and width.
- Using a table or radial arm saw, cut out sides, top and bottom by making a series of cuts in numerical order, according to diagram in figure 4.
- Mark bending lines on jar side pieces with a pencil as shown in figure 5.

Figure 5. Container lay-out showing bending lines. - Place acrylic sheet for sides on heater bar at bending line number 1 (Fig. 6). Adjust heater to 80°-100°C. Take care to prevent overheating of the plastic; lengthy exposure may cause protective paper to stick to the acrylic, at the bending joint.

Figure 6. Adjustable retort stand with plastic in place during heating. - Remove the heated acrylic sheet, bend and press against the bending jig (Fig. 3). Make all three bends within 15 to 30 seconds after the acrylic sheet has been removed from the heater bar. Press the heated plastic sheet to form a 90o angle against the inside corner of the jig and allow the plastic to cool.
- Secure plastic in place with the T-bar holding device and lead weights (Fig. 3) and allow to cool. The plastic sheet must be held tightly and supported properly to assure that all angles are square. The container will then be balanced and stand correctly when construction is complete.
- Repeat steps 5-7 at other bending lines.
- Place waste pieces of plastic sheet (10g) in chloroform (50ml), and allow to dissolve to form an adhesive. Methylene chloride can be used as an alternative solvent for the acrylic. When using either chloroform or methylene chloride, wear eye protection and work under a well-ventilated fume hood or wear a respirator (See M.S.D.S. for chloroform – C.A.S. No. 67-66-3 and Methylene Chloride – C.A.A. No. 75-09-2).
- After bending is complete, spread the adhesive on the free edge of side number 1 and position to meet the final cutting line at side number 4 (Fig. 4).
- Secure with clamps and allow the adhesive to set (about 8 hours).
- Using a table or radial arm saw, cut off any excess as close as possible to the side of the jar.
- After removing the protective paper from one surface of the jar base, apply the adhesive to the bottom edge of the container sides and position it on the base. Weight the top of the jar and allow the adhesive to set.
- Remove all protective paper from the container and test for water tightness. Rectify any leaks by applying small amounts of chloroform or methylene chloride adhesive solution at the leak sites.
- Remove excess plastic along joined edges of the sides or bottom using a fine toothed file and descending grades of sandpaper (100-600 grit). Take care during sanding and filing to avoid scratching the jar surfaces. Polish the sanded edges using jeweler’s rouge and a buffing wheel.
Inside Fitting Lid (Fig. 1)
- Cut a strip 12mm wide and the length of the inside top of the container from a piece of acrylic sheeting the same thickness as the container.
- Using the heater bar of the bending jig, bend the strip into a rectangle that fits tightly inside the rim of the container.
- Glue the ends of the bent strip together to form one rectangular piece.
- Place adhesive on the upper edge of the rectangular strip, set the plastic top piece on it, weight in place, and leave to set.
- Trim the top piece to match the outside of the container, sand and polish.
Outside Fitting Lid (Fig. 1)
Use the same procedure as outlined above, but bend the plastic strip to fit the outside edge of the container, rather than the inside. Trim the outside edge of the lid, sand and polish.

Figure 1. Plastic jar with external-fitting lid.
Alternative internal-fitting lid is pictured at left.
Permanent Cover
- Place a specimen in a completed container and partially fill the container with aqueous storage solution.
- Cut a piece of acrylic sheeting to fit the top of the container.
- Drill a small hole in the jar top to allow complete filling with solution after sealing.
- Adhere the lid permanently in place.
- Using a large syringe and bore needle, fill container to the top with aqueous storage solution through the access hole in the lid.
- Seal the hole in the top of the container with adhesive. A glass slide cover slip may be used to cover the hole and can be secured in place with adhesive.
Removable Glass Lid (Fig. 7)

Figure 7. Container with removable glass lid.
Using this type of cover requires a change in the construction procedure.
- Rabbet the upper edge of the container, approximately 3mm deep and 3mm wide prior to bending (Thompsett, 1970). Only plastic sheeting thicker than 6mm is suitable for this application.
- Cut a piece of glass to fit inside the rabbeted edge of the completed container.
Comments
By using a solid core heater bar as opposed to a heating element (Hangay and Dingley, 1985) or a heating coil (Audette, 1965), discoloration and distortion of the plastic sheet during heating is almost completely eliminated.
The adhesive (i.e., plastic dissolved in chloroform), creates strong bonding at the sealed edges, preventing cracking and leaking (Kennedy, 1952). However, chloroform is a very dangerous substance. For proper handling procedures refer to MSDS C.S.A. No. 67-66-3 before using. Use safety equipment such as a fume hood and/or respirator plus proper eye protection when doing this procedure. Methylene chloride is also dangerous and requires proper ventilation (See C.A.A. No. 75-09-2).
Adapted From
Lyons, G.W. 1987. Improvements in the construction of plastic display containers for museums, Collection Forum, 3:9-12.